+38 (067) 466-38-60

Наименование: Система автономного освещения на солнечных панелях

Модель: STREETAUTO 80/24/36(Ш)

Производитель: ООО «ВП « Электронный свет»

Назначение: Автономное освещение уличных территорий без подключения к сетям электроснабжения

Основные параметры:

  1. мощность осветительного прибора: от 10 до 40 Вт
  2. световой поток от 1500 до 4500 Люмен на Вт
  3. тип диаграммы ККС – Ш
  4. максимальная высота подвеса светильника: 9м
  5. максимальная мощность солнечной панели: 85 Вт.ч
  6. емкость аккумуляторной батареи: 60А.ч (24 В)
  7. напряжение питания осветительного прибора: 24 В
  8. весовые характеристики и габаритные размеры  

№пп

Наименование

Кол-во, ед

Общий вес, кг

Габаритные размеры, мм

1

Уличный светильник

1

4,6

510х255х95

2

Солнечная генерирующая панель

1

9

1210x525x35

3

Кронштейн крепления солнечной панели

1

6

600x510x500

4

Шкаф аккумуляторных батарей

1

15

1280x324x242

5

Аккумуляторные батареи 

2

20,4

227x187x127

6

Контроллер

1

0,2

150x150x30

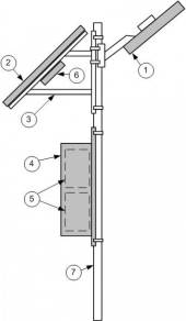
Состав изделия:

  1. Уличный светильник с кронштейном крепления.
  2. Солнечная генерирующая панель.
  3. Кронштейн крепления солнечной панели.
  4. Шкаф аккумуляторных батарей
  5. Аккумуляторные батареи
  6. Контроллер системы
  7. Фонарный столб

Принципиальная электрическая схема системы

Последовательность подключения к контроллеру системы:
  1. Осветительный прибор, провод 2 х 1 мм
  2. Блок аккумуляторов, провод 2х1 мм
  3. Генерирующая панель, провод 1х4 мм (в комплекте поставки 4 м)
Внимание! максимальное напряжение открытой цепи может достигать 200 В!!!

Особенности установки и монтажа.

Генерирующая солнечная панель устанавливается в южном направлении с максимальным отклонением на восток или запад в 15 град.

Осветительный прибор направляется в сторону необходимого светового потока.

Внимание! При необходимости совмещения направления установки панели и светильника, панель устанавливается выше осветительного прибора!

Установка системы с размещением аккумуляторных батарей в приямке

  • Минимальный размер приямка для установки аккумуляторных батарей 500х500х500(h).
  • Предусмотреть установку кабельного канала для подвода кабелей к аккумуляторным батареям.
  • Предусмотреть герметичную ревизионную крышку приямка. Установочное отверстие для аккумуляторов мин 400х200мм.
  • Выполнить гидроизоляцию приямка

Форма заказа