+38 (067) 466-38-60

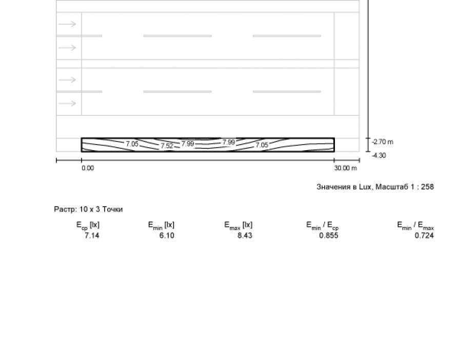
Проект освещения дороги, который включает освещение  проезжей части, пешеходных дорожек, зеленой полосы. Для подсветки дороги были установлены светодиодные светильники LED-STREET-01, с широкой (Ш) диаграммой распределения силы света.

Расчеты выполнены  в профессиональной светотехнической программе DIALux.